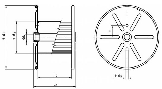
KABLO İMALAT MAKARASI
· DIN 46391/46395 ‘e göre veya istenilen ölçü ve dizaynda imalatı yapılabilmektedir.
· Ağırlıklı olarak kablo imalatı olmak üzere, halat, bükümlü tel ve örgülü tel imalatında kullanılabilmektedir.
· Punta yuvaları sertleştirilebilir ve değiştirilebilir olarak üretilebilir.
· Müşteri isteğine göre farklı punta opsiyonları mevcuttur.
· Müşteri isteğine göre değişik boya uygulamaları yapılabilmektedir.
EN
RU
FR
AR 





