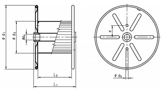
KIM сталь Катушки
- Может производиться в требуемых размерах и дизайне в соответствии с нормативами DIN 46391/46395.
- Используются в основном в кабельном производстве, но также могут использоваться в производстве канатов, плетёной проволоки и сеток.
- Пунта-слоты могут быть произведены с возможностью уплотнения и замены.
- По запросу клиентов предоставляются различные варианты наконечников.
- В соответствии с требованиями заказчика, могут быть использованы различные виды окраски.
TR
EN
FR
AR 





